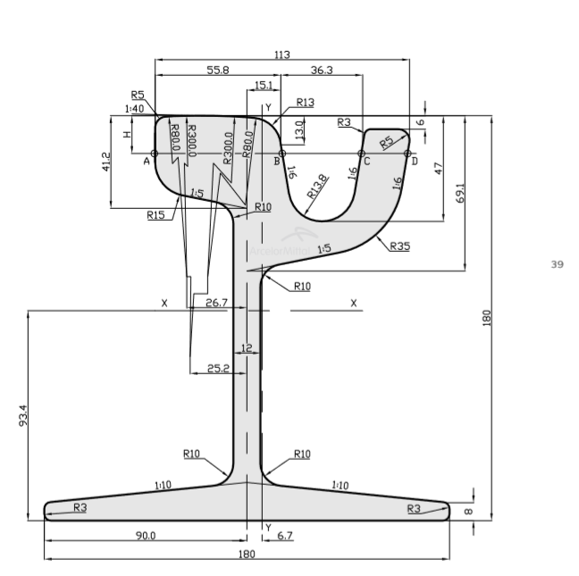
60R2 (Ri60N) rail profile:

Description:
Rail profile 60R2 (Ri60N) manufacture according European Standard EN 14811, within G or R tolerance group manufacturing categories. These group categories are involved in measuring rail verticality which becomes of importance for adjusting track width, embedding material interaction and to have best rail/wheel contact performance.
Dimensions:
| Profile | Standard | Dimensions mm | Tolerance | Weight | ||||||
|---|---|---|---|---|---|---|---|---|---|---|
| H | B | C | C1 | C2 | E | R | Group | kg/m | ||
| 60R2 (Ri60N) | EN 14811 | 180,00 | 180,00 | 113,00 | 55,83 | 36,35 | 12 | 13/80/300 | G or R | 59,75 |